6 Oriente 1135 Local C, Viña del Mar
Cuenta
Características

Condición Nuevo
Clasificación Alternativo
Marca Rcps
Aplicación del Vehículo

Marca HYUNDAI
Modelo ACCENT
Descripción

Por el momento no se encuentra la descripción para este producto.

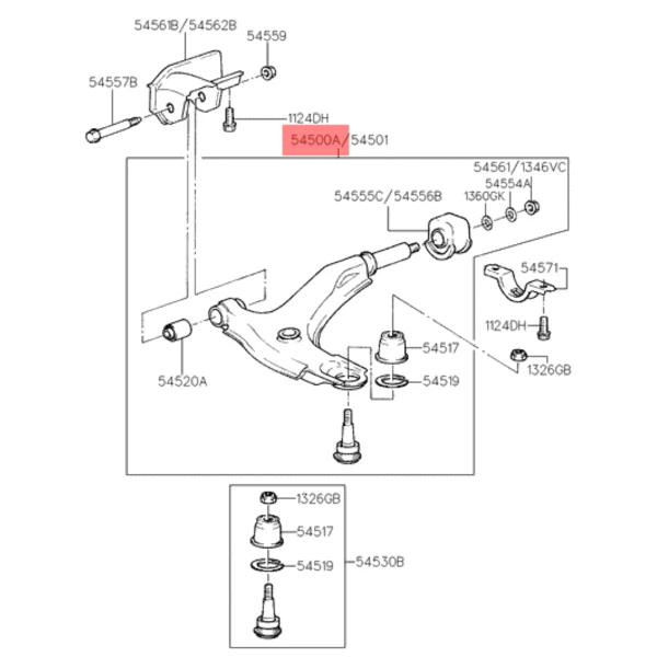
Bandeja delantera derecha para hyundai accent 1994 1999 1.5 g4ek


SKU TOP-5450122000-RCPS
Códigos OEM 54501-22000, 54501-22100, 54501-22200
Categoría Bandejas Delanteras Derechas
Stock A pedido

Contacta al Vendedor

Medios de pagos disponibles

Medios de pagos
Otros productos para el HYUNDAI ACCENT